Gliederschutzabdeckung AHGS 4
(Länge pro Glied 35 mm) ohne Konsole für Anbau
für Hobelbreite 410 mm (14 Glieder) Best-Nr. 30706
Gliederschutzabdeckung AHGS 5
(Länge pro Glied 35 mm) ohne Konsole für Anbau
für Hobelbreite 510 mm (16 Glieder) Best-Nr. 30707
Gliederschutzabdeckung AHGS 6
(Länge pro Glied 35 mm) ohne Konsole für Anbau
für Hobelbreite 630 mm (19 Glieder) Best-Nr. 30708
Bitte beachten Sie, dass die Gliederschutzabdeckungen AHGS 4-6 nicht den aktuellen Vorschriften der Berufsgenossenschaft entsprechen.
Hobelschutzvorrichtung AHTX-Matic (CE-Konform) Best-Nr. 30720
Die Hobelschutzvorrichtung AHTX-MATIC für Abrichthobelmaschinen zeichnet sich durch den gefederten Anpressdruck und somit den einfachen Gebrauch aus.
Die Rädergruppe am Ende der Messerwellenabdeckung kann in drei Stellungen gedreht werden. Stellt man die Räder vertikal (Abb. 3), hebt sich die Messerwellenabdeckung durch den Andruck breiter Werkstücke automatisch bis zu einer maximalen Höhe von 75mm (Laut CE-Norm) nach oben. Nach beendigter Arbeit geht die Abdeckung in die Ausgangsstellung zurück.
Bei der Bearbeitung von schmalen Werkstücken (Abb. 2), müssen die Räder waagrecht positioniert werden. In diesem Fall entfernt sich die Messerwellenabdeckung durch den Druck des Holzes weg vom Abrichtanschlag (bis zu einem max. Hub von 100mm), bei Arbeitsende geht die Abdeckung in die Ausgangsstellung zurück.
Hobelschutzvorrichtung AHSV (CE-Konform) Best-Nr. 30710
zum sicheren Arbeiten an Abrichthobelmaschinen mit zweiteiliger, abklappbarer Wellenabdeckung 400 + 260 mm. Dank der schmalen Form ist nahezu kein störender vorderer Aufbau beim Arbeiten hinderlich.
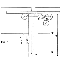
Hobelschutzvorrichtung AHTX (CE-Konform)
zum sicheren Arbeiten an Abrichthobelmaschinen mit zweiteiliger, abklappbarer Wellenabdeckung 400 + 260 mm. Die Montage erfolgt stirnseitig am Maschinentisch. Die Ausführungslänge bezieht sich auf den Abstand zwischen Mitte Messerwelle bis zur ersten Befestigungsbohrung (Maß A).
Ausführung AHTX 500 mm Best-Nr. 30711
Ausführung AHTX 650 mm Best-Nr. 30712
Ausführung AHTX 850 mm Best-Nr. 30713
Ersatz-Messerwellenabdeckung 260 + 400 mm
passend für Hobelschutzvorrichtung AHSV und AHTX Best-Nr. 30714
Magnet Hobelmesser Einstellgerät DHE
im Holzkasten, mit 3 Einstell-Fühlerlehren 0,8 -1,0 - 1,2 mm Best-Nr. 30601
Messerwellenschraube AHMW, Gewinde R 1/4", Schlüsselweite 17 mm, Ausführung Wigo Gesamtlänge ca. 18 mm
Best-Nr. 30750
Messerwellenschraube AHM, Gewinde R 1/4", Schlüsselweite 17 mm, Gesamtlänge ca. 21 mm





